皇冠信用網结算日是哪天 _刚刚,跳水!超20万人爆仓
如何申请皇冠代理(huangguan.hk—)开会员号,招代理/条件好/皇冠体育/出租/招登1登2登3地区代理【导读】加密货币市场集体走低皇冠信用網结算日是哪天 ,超20万人被爆仓
中国基金报记者 晨曦
刚刚皇冠信用網结算日是哪天 ,加密货币市场再度跳水!
10月14日晚间,比特币再度走低,一度跌破11万美元,跌幅达4.6%皇冠信用網结算日是哪天 。

以太坊一度跌破3900美元,跌幅超8%皇冠信用網结算日是哪天 。

主流加密货币集体走低,狗狗币、币安币、艾达币等均大幅下跌皇冠信用網结算日是哪天 。

展开全文
CoinGlass数据显示,最近24小时,全球共有20.66万人被爆仓,爆仓总金额为6.56亿美元,其中,多单爆仓4.75亿美元,空单爆仓1.82亿美元皇冠信用網结算日是哪天 。

美股加密货币概念股普跌皇冠信用網结算日是哪天 。

此外,根据德勤近期研究,约25%的比特币可能暴露在量子攻击风险下皇冠信用網结算日是哪天 。若这些比特币未能及时转移至抗量子地址,待强大量子运算机投入使用后,可能造成数千亿乃至兆美元的损失。数字资产管理公司Capriole Investment创始人、长期比特币倡导者Charles Edwards指出,量子运算威胁远比普遍认知的更迫近,并敦促社区在2026年前构建防御体系。
北京时间周三凌晨00:20,美联储主席鲍威尔将在全美商业经济协会举办的活动上发表讲话,主题为《经济展望与货币政策》皇冠信用網结算日是哪天 。业内认为,鲍威尔的讲话可能左右市场对降息节奏及整体货币政策的预期,从而决定当前加密货币市场的下行趋势是加剧还是企稳。
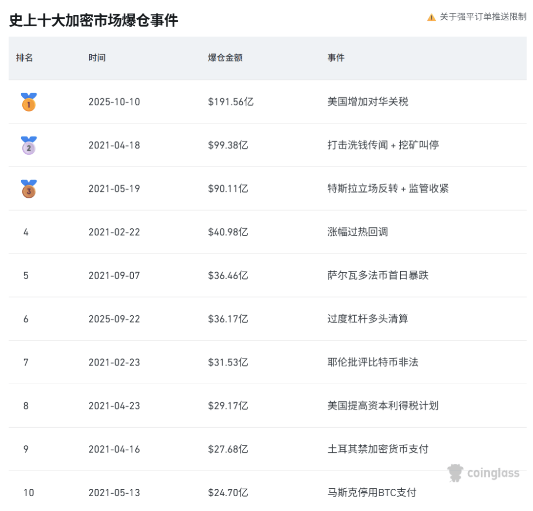
就在上周,美国总统特朗普发布关税威胁,加密货币市场遭遇“大清洗”,主流币种集体大跌皇冠信用網结算日是哪天 。CoinGlass数据显示,10月10日爆仓金额超191亿美元,居于历史首位。随后虽有所回升,但当天暴跌的“创伤”仍令投资者心有余悸。

区块链数据公司Santiment指出,上周五的抛售并非单纯受关税消息驱动皇冠信用網结算日是哪天 。散户交易者迅速将暴跌归咎于关税对峙,但更深层的结构性问题正在积聚,包括过度杠杆和多头仓位的极端集中。
TD Cowen分析师在近期报告中表示,美国参议员们在推动加密货币市场结构法案通过一事上行动迟缓,这可能导致该法案的通过时间推迟至中期选举之后皇冠信用網结算日是哪天 。
过去一年,已有多名民主党人对特朗普总统与数字资产的关联表示担忧,这一情况反过来使立法进程变得更加复杂皇冠信用網结算日是哪天 。据计算,特朗普通过其家族的加密货币项目(包括World Liberty Financial去中心化金融稳定币项目,以及“TRUMP”“MELANIA”两款迷因币)已获利约6.2亿美元。
编辑:黄梅
校对:王玥
制作:舰长
审核:陈墨
版权声明
《中国基金报》对本平台所刊载的原创内容享有著作权,未经授权禁止转载,否则将追究法律责任皇冠信用網结算日是哪天 。
猜你喜欢
- 4天前皇冠信用网哪里申请_特朗普:伊朗已同意几乎所有要求,达成协议非常乐观,如在伊斯兰堡签署协议,我可能会前往
- 5天前皇冠信用网正网_群星汇聚!第十六届北影节红毯高清大图来了
- 7天前皇冠hga035客户端_菲律宾政坛变天?马科斯被催辞职,杜特尔特之子担任党总裁
- 7天前皇冠hga035客户端_成都一套89平方米凶宅第三次拍卖,16.6万元起拍超9万人围观,开拍3小时已竞价至90.6万元
- 7天前皇冠信用代理出租_60多名巴勒斯坦人藏身垃圾车,试图进入以色列:层层叠叠挤在车厢
- 1周前皇冠信用网平台_英媒:若阿森纳最终丢冠 将是英超历史最大失败之一
- 1周前皇冠信用网代理注册_美以玩阴的!伊朗向中国发出求援信号,答不答应?全球目光紧盯
- 3周前皇冠信用网如何开户_伊朗确认:雷扎伊身亡
- 3周前皇冠信用网会员_特朗普又改口了?不到24小时,美债遭遇大规模抛售,美国失算了
- 3周前信用网如何申请_英国冻结一中国公民及关联公司8100万英镑房产,要求3个月内证明购房资金合法
- 4周前皇冠信用平台出租出售_特拉维夫上空出现鸦群,以色列疑似寻求停火,伊朗表示要为47年账“做个了断”
- 4周前怎么开通皇冠信用网口_济南舜耕路38号要“原拆原建”?海报新闻记者实地探访
- 4周前皇冠信用网登1_没看出来!她们穿的竟然是内衣!地铁站里的这场快闪太敢了
- 4周前皇冠信用登1_53票反对、47票赞成!特朗普连夜发文:伊朗已经“灭亡”,美国最大的敌人在内部
- 4周前皇冠信用网去哪里弄_“我以为奔驰E300会自动减速”,男子称开启辅助驾驶跑高速出事故车辆贬值,4S店:操作不当
- 4周前皇冠信用网去哪里弄_伊朗发射导弹后,英国外交大臣:我们和美以立场不同
- 4周前皇冠信用网去哪里弄_10-7击败奥沙利文 斯诺克世界公开赛决赛塔猜亚轰147夺冠
- 4周前皇冠信用网会员如何注册_以色列经历“艰难一夜” 美伊互放狠话
- 1个月前世界杯皇冠信用网会员注册_钧正平:宁可千日无战、不可一日无备,不宣而战、突然袭击,时至今日这种无视国际道义、抛弃基本良知的伎俩依然被某些势力大肆运用
- 1个月前皇冠信用网登1,登2,登3出租_曼联与伯恩茅斯战平:数据背后的战术与人物故事解析
- 1个月前皇冠信用网登2代理_足迹里的政绩观:一辆自行车,一路访民情
- 1个月前皇冠登录地址_拉里贾尼之死不简单,以色列单方面下死手,要把美国往火坑推
- 1个月前皇冠信用最新地址 _作为公安部长出身的苏林,推动与中方建立“3+3”机制,中越给世界打了个样
- 1个月前皇冠信用盘会员 _2500名美军杀进霍尔木兹海峡,却连油轮都不敢护送!伊朗这招太狠了


网友评论